高公局北工處林金賢/撰稿圖片提供
本次隧道火燒車事故,就電力、火警、照明、通風、消防及監控等系統作檢討,其中安全門及緊急照明系統在本次緊急運作時,仍有不足之地方,為使日後在此類似情況下有更好之運作作為,有如下之機電改善項目:
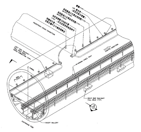
三、緊急出口指示標誌
(一)檢討
此標誌(燈)主要目的在提醒指示用路人避難之位置,當在充滿煙霧之情況下,對於靜態之緊急出口指示標誌(燈),難以抓住避難用路人之眼睛,造成用路人對於聯絡隧道安全門到底在那裡之困惑,因此有必要加強此避難位置指示之功能。
(二)改善對策
各聯絡隧道門前除有靜態緊急出口指示標誌(燈)外,亦在聯絡隧道門前設置具有聲響之閃爍指示燈,並在門上標示大字『安全門』或於安全門兩側隧道壁增繪大型人員逃生圖示,讓用路人於緊急情況下,可快速判斷進入聯絡隧道避難。
四、人行/車行聯絡隧道照明
(一)檢討
目前聯絡隧道照明設計係依有否人員或車輛進入作為啟動照明之依據,對於設置在聯絡隧道內之CCTV 無法在無人/車情況下監視聯絡隧道內之狀況,如安全門是否有緊閉、有否濃煙竄入等資訊。
(二)改善對策
為改善 CCTV 攝影照度不足之問題,將於各聯絡隧道安裝LED 18Wx2之燈具,照度保持平均15 Lux 以上,以確保CCTV 可清楚辨識聯絡隧道內之狀況,另相關開關迴路需增設將一併檢討其容量及從何處供電。
五、火災事件之機電自動控制模式提升
(一)檢討
本次雪隧火燒車事故發生,火警訊號雖然第一時間有發出,相關連動程序亦有完成,如逃生、排煙、逃生指示燈啟動及與交控資訊交換均有動作,但經檢討仍有與救災相關機電設施尚需啟動,如聯絡隧道及導坑照明可自動點亮、保持正壓、濃煙偵測…等等連動功能再提升,對於未來救災助益可有效地改善。
(二)改善對策
上述聯絡隧道及導坑照明之連動功能須透過修改監控系統程式即可完成,但對於增加聯絡隧道於火災時之濃煙偵測能力,需設置濃煙偵測器,對於發生火災且有濃煙進入連絡隧道時,亦能提醒坪林行控中心人員要盡快通知聯絡隧道避難人員緊閉安全門,或盡快派遣工作人員由另一安全隧道或導坑進入該被濃煙竄入之聯絡隧道進行關閉安全門。
六、風門測試及改善
(一)檢討
本次雪隧火燒車事故,發現有煙塵竄入北上線隧道,雖研判係因聯絡隧道逃生門未緊閉而致煙塵失控,惟對相關之隔離設備仍需加以檢討以確認其阻絕煙塵之功能。
(二)改善對策
1.對中繼站各風門進行檢查測試,並依測試結果評估設備之檢修、重置或新設隔離設備。
2.評估聯絡隧道內正壓建立之檢討與是否改善。
肆、結語
本次事件為雪山隧道通車以來,所遭遇規模最大的災害事件,除2死34傷的人命傷亡外,火災並損壞隧道內設施,影響隧道正常通行,整體事件對於社會產生相當大的衝擊。
綜觀本次事件,在逃生或救援過程中或多或少遇到火災產生煙塵的危害,因此本改善工程首要針對如何防止煙塵對於人員的逃生產生的妨礙及危害,進行檢討及改善。例如發現由於安全門未關閉,致煙塵進入聯絡隧道並漫延至導坑,造成避難民眾受到危害,經檢討後,
已於101年5月16日完成加裝門檔以確保安全門自動回復關閉功能,並加貼警語,未來考量增設自動廣播等以提醒民眾注意,務必做到安全門可阻隔煙塵之功能。
經由本事件進行詳細而完整的檢討,透過隧道設施改善、管理作為及應變救援作業的提升,期望本工程改善執行後,能降低雪山隧道災害發生機率,並提升隧道行車安全。
(續上期)
 |
| ▲ |
地面式逃生指示燈/閃爍指示燈配置圖 |
|
 |
| ▲ |
人行/車行聯絡隧道LED照明配置圖 |
|